
做一个帅气的卡友很累,这点我真的深有体会。
一、概念
1、发动机:
是将燃料燃烧释放的热能转变成机械能的机械;凡是将燃料燃烧所产生的热能转变成机械能的机器统称为热力发动机,简称发动机。

2、热力发动机分类:
根据燃料燃烧部位不同分为
(1)外燃机:燃料在发动机外部燃烧的称为外燃机,如蒸汽机、汽轮机等等。
(2)内燃机:燃料直接在发动机内部燃烧的称为内燃机,如柴油机、汽油机等等;
3、内燃机的特点:
内燃机具有热效率高、功率范围广、适应性好、结构紧凑、尺寸小、使用操作方便。启动迅速等优点。所以被广泛地应用于国防、交通运输、工业、农业等方面。目前,拖拉机的发动机均采用内燃机。内燃机与外燃机相比具有许多优点:
(1)热效率高:柴油机的热效率高于其它动力机械。增压柴油机的热效率高达46%;
(2)功率范围广:单机功率为1~50000kw( 船用)能适应多方面的用途;
(3)起动性能好:中小型柴油机通常能在几秒钟内起动,并投入全负荷运转;
(4)运行维护简便:柴油机用水量小(单缸卧式蒸发除外)风冷柴油机根本不用水;
(5)体积功率高、比质量小(功率/质量):高速增压多缸柴油机的体积功率340kw/m3 比质量仅1.6kg/kw;
(6)燃料要求高:不能直接用劣质和固体燃料;
(7)环境污染源:柴油机废气中的有害气体,碳烟以及噪音都是污染环境的公害。
二:发动机分类

内燃机类型很多,通常按不同特征作如下分类:
1、按所用燃料分:汽油机、柴油机、石油液化气机、沼气机等;
2、按循环行程数分:二行程发动机、四行程发动机;
3、按气缸数分:单缸发动机、多缸发动机;
4、按冷却方式分:水冷式发动机、风冷式发动机;
5、按着火方式分:点燃式发动机、压燃式发动机;
6、按转速分:高速发动机、低速发动机;
7、按气缸排列方式分:立式发动机、卧式发动机、V型发动机、对置式发动机;
8、按进气方式: 增压发动机、非增压发动机;

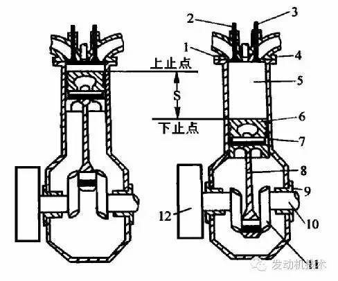
如图所示,内燃机最基本的结构是由汽缸、汽缸盖、进气门、排气门、喷油器、活塞、活塞销、连杆、曲轴、飞轮等组成。
活塞置于气缸中,活塞可在气缸内作往复直线运动,活塞通过连杆和曲轴相连,曲轴可绕其轴线旋转。
1、上止点:活塞离曲轴回转中心最远处,通常指活塞上行到最高位置(图1—1a);
2、下止点:活塞离曲轴回转中心最近处,通常指活塞下行到最低位置(图1—1b );
3、活塞行程(s):上、下两止点间的距离(mm);
4、曲柄半径(R):与连杆下端(及连杆大头)相连的曲柄销中心到曲轴回转中心的距离(mm);显然,s=2R。曲轴每转一周,活塞移动两个行程。

5、气缸工作容积(Vh):活塞从上止点到下止点所扫过的空间容积(L);式中:D—气缸直径(mm)。
6、发动机排量(VL):发动机所有气缸工作容积之和(L)。设发动机的气缸数为i,则
7、燃烧室容积(VC):活塞在上止点时,活塞上方的空间叫燃烧室,它的容积叫燃烧室容积(L);
8、气缸总容积(Va):活塞在下止点时,活塞上方的容积称为气缸总容积(L)。它等于气缸的工作容积与燃烧室容积之和,即
9、压缩比(ε):气缸总容积与燃烧室的比值,即
它表示活塞由下止点运动到上止点时,气缸内的气体被压缩的程度。压缩比越大,压缩终了时气缸内的气体压力和温度就越高。一般汽油机的压缩比为6~10,柴油机的压缩比为15~22。
10、发动机的工作循环:在气缸内进行的每一次将燃料燃烧的热能转化为机械能的一系列连续过程(进气、压缩、做功和排气)称发动机的工作循环。
11、二冲程发动机:活塞往复两个行程完成一个工作循环的称为二冲程发动机。
12、四冲程发动机:活塞往复四个行程完成一个工作循环的称为四冲程发动机。




