汽车是借助于自身的动力装置驱动,且具有4个或4个以上的车轮的非轨道无架线车辆。汽车一般由发动机、底盘、车身和电气设备等四个基本部分组成。它的传动系由离合器、变速器、万向传动轴装置,以及驱动桥中的主减速器、差速器和半轴等组成。

一、发动机
汽车发动机是为汽车提供动力的发动机,是汽车的心脏。常见的汽油机和柴油机都属于往复活塞式内燃机,是将燃料的化学能转化为活塞运动的机械能并对外输出动力。
汽油机与柴油机
汽油机转速高,质量小,噪音小,起动容易,制造成本低;柴油机压缩比大,热效率高,经济性能和排放性能都比汽油机好。

汽车发动机的工作原理
四冲程汽油机是将空气与汽油以一定的比例混合成良好的混合气,在吸气冲程被吸入汽缸,混合气经压缩点火燃烧而产生热能,高温高压的气体作用于活塞顶部,推动活塞作往复直线运动,通过连杆、曲轴飞轮机构对外输出机械能。
四冲程汽油机在进气冲程、压缩冲程、做功冲程和排气冲程内完成一个工作循环。

四缸发动机工作过程

二、底盘
汽车底盘由①传动系、②行驶系、③转向系和④制动系四部分组成。底盘作用是支承、安装汽车发动机及其各部件、总成,形成汽车的整体造型,并接受发动机的动力,使汽车产生运动,保证正常行驶。

① 汽车传动系统
汽车发动机与驱动轮之间的动力传递装置称为汽车的传动系。它应保证汽车具有在各种行驶条件下所必需的牵引力、车速,以及保证牵引力与车速之间协调变化等功能,使汽车具有良好的动力性和燃油经济性;还应保证汽车能倒车,以及左、右驱动轮能适应差速要求,并使动力传递能根据需要而平稳地结合或彻底、迅速地分离。
传动系统包括①离合器、②变速器、③传动轴、④主减速器、⑤差速器及⑥半轴等部分。汽车发动机与驱动轮之间的动力传递装置称为汽车的传动系。
离合器
离合器位于发动机和变速箱之间的飞轮壳内,用螺钉将离合器总成固定在飞轮的后平面上,离合器的输出轴就是变速箱的输入轴。

在汽车行驶过程中,驾驶员可根据需要踩下或松开离合器踏板,使发动机与变速箱暂时分离和逐渐接合,以切断或传递发动机向变速器输入的动力。

变速器
变速器是用来改变来自发动机的转速和转矩的机构,它能固定或分档改变输出轴和输入轴传动比,又称变速箱。
它分为手动、自动两种,手动变速箱主要由齿轮和轴组成,通过不同的齿轮组合产生变速变矩;而自动变速箱AT是由液力变扭器、行星齿轮和液压操纵系统组成,通过液力传递和齿轮组合的方式来达到变速变矩。

手动变速箱称手动变速器(简称MT)又称机械式变速器,即必须用手拨动变速杆(俗称“挡把”)才能改变变速器内的齿轮啮合位置,改变传动比,从而达到变速的目的。
它结构简单,性能可靠,制造和维护成本低廉,且传动效率高(理论上会更省油),另外,由于是纯机械控制,换挡反应快,且可以更直接的表现驾驶者的意愿,因此也更富驾驶乐趣,这些都是手动变速箱的优点。不过相比自动变速箱,它操作繁琐,而且在挡位切换时顿挫明显的劣势也是无法弥补的。

变速器的功能:
改变传动比;
在发动机旋转方向不变情况下,使汽车能倒退行驶;
利用空挡,中断动力传递,以使发动机能够起动、怠速,并便于变速器换档或进行动力输出;
传动轴
传动轴是由轴管、伸缩套和万向节组成。伸缩套能自动调节变速器与驱动桥之间距离的变化。万向节是保证变速器输出轴与驱动桥输入轴两轴线夹角的变化,并实现两轴的等角速传动。

万向节是汽车传动轴上的关键部件。在前置发动机后轮驱动的车辆上,万向节传动轴安装在变速器输出轴与驱动桥主减速器输入轴之间;而前置发动机前轮驱动的车辆省略了传动轴,万向节安装在既负责驱动又负责转向的前桥半轴与车轮之间。

主减速器
主减速器是汽车传动系中减小转速、增大扭矩的主要部件。对发动机纵置的汽车来说,主减速器还利用锥齿轮传动以改变动力方向。

汽车正常行驶时,发动机的转速通常在2000至3000r/min左右,如果将这么高的转速只靠变速箱来降低下来,那么变速箱内齿轮的传动比则需很大,也就是变速箱的尺寸会越大。另外,转速下降而扭矩必然增加,也就加大了变速箱与变速箱后一级传动机构的传动负荷。

所以,在动力向左右驱动轮分流的差速器之前设置一个主减速器,可使主减速器前面的传动部件如变速箱、分动器、万向传动装置等传递的扭矩减小,也可以使变速箱的尺寸、质量减小,操纵省力。
差速器
汽车差速器能够使左、右(或前、后)驱动轮实现以不同转速转动的机构。主要由左右半轴齿轮、两个行星齿轮及齿轮架组成。

功用是当汽车转弯行驶或在不平路面上行驶时,使左右车轮以不同转速滚动,即保证两侧驱动车轮作纯滚动运动。差速器是为了调整左右轮的转速差而装置的。

② 汽车行驶系统
汽车行驶系由车身、车桥、车轮和悬架组成。车轮分别支承在各车桥(前桥、后桥)上,为了减少汽车在不平路面上行驶时受到的振动,车桥又通过弹性悬架与车身连接。

汽车车轮

汽车车桥

汽车车桥

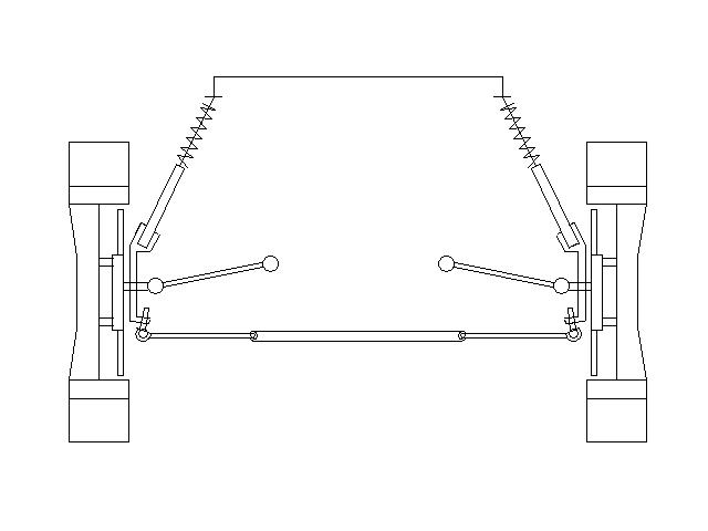
汽车悬挂系统
汽车悬挂系统就是指由车身与轮胎间的弹簧和避震器组成整个支持系统。悬挂系统应有的功能是支持车身,改善乘坐的感觉,不同的悬挂设置会使驾驶者有不同的驾驶感受。外表看似简单的悬挂系统综合多种作用力,决定着轿车的稳定性、舒适性和安全性。

汽车行驶系的主要作用
是将整个汽车连接成一整体,并支持全车质量,接受传动系传来的转矩、并通过驱动车轮与路面的附着作用,产生路面对汽车的牵引力。传递并承受路面作用于车轮上的各种反力及形成的力矩,缓和不平路面对车造成的冲击以及减少车身振动。③ 汽车转向系统
用来改变或保持汽车行驶或倒退方向的一系列装置称为汽车转向系统。

实现汽车转向的方法是,驾驶员通过一套专设的机构,使汽车转向桥(一般是前桥)上的车轮(转向轮)相对于汽车纵轴线偏转一定角度。④ 汽车制动系统
汽车制动系统是指,对汽车某些部分(主要是车轮)施加一定的力,从而对其进行一定程度的强制制动的一系列专门装置。
制动系统作用
使行驶中的汽车按照驾驶员的要求进行强制减速甚至停车;使已停驶的汽车在各种道路条件下(包括在坡道上)稳定驻车;使下坡行驶的汽车速度保持稳定。

二、汽车车身
汽车车身的作用主要是保护驾驶员以及构成良好的空气力学环境。好的车身不仅能带来更佳的性能,也能体现出车主的个性。汽车车身结构从形式上说, 主要分为非承载式和承载式两种。

非承载式车身的汽车有刚性车架,又称底盘大梁架。车身本体悬置于车架上,用弹性元件联接。车架的振动通过弹性元件传到车身上,大部分振动被减弱或消除,发生碰撞时车架能吸收大部分冲击力,在坏路行驶时对车身起到保护作用,因此车厢变形小,平稳性和安全性好,而且厢内噪音低。

承载式车身的汽车没有刚性车架,只是加强了车头,侧围,车尾,底板等部位,车身和底架共同组成了车身本体的刚性空间结构。这种承载式车身除了其固有的乘载功能外,还要直接承受各种负荷。这种形式的车身具有较大的抗弯曲和抗扭转的刚度,质量小,高度低,汽车质心低,装配简单,高速行驶稳定性较好。但由于道路负载会通过悬架装置直接传给车身本体,因此噪音和振动较大。




